Product Summary
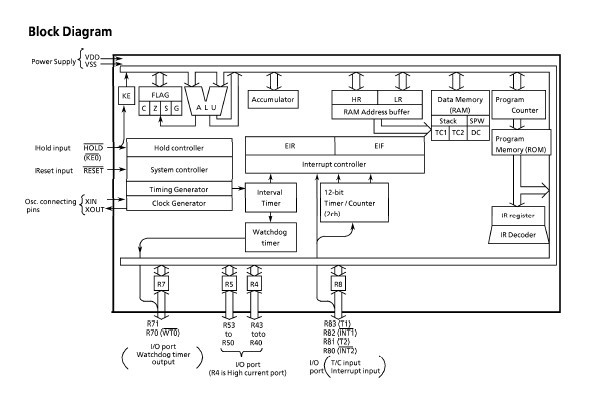
The TMP47C202M-F177 is a kind of high speed and high performance 4-bit single chip microcomputer, integrating ROM, RAm, input/output ports and timer/counters on a chip.It is standard LSI in the TLCS-47E series.
Parametrics
TMP47C202M-F177 absolute maximum ratings: (1)supply voltage(VDD) is -0.3 V to 6.5 V; (2)input vltage(Vin) is -0.3V to VDD+0.3 V; (3)output voltage(Vout) is -0.3 V to VDD+0.3 V; (4)power dissipation(PD) is 300 mW(DIP); (5)soldering temperature(time)(Tsld) is 260℃(10s); (6)storage temperature(Tstg) is -55℃ to 125℃; (7)operating temperature(Topr) is -30℃ to 70℃.
Features
TMP47C202M-F177 features: (1)4-bit single chip microcomputer; (2)instruction execution time: 1.3 us(at 6 MHz); (3)low voltage operation:2.2 V at 2 MHz RC; (4)89 basix instrucitons,ROM table look-up instructions; (5)subroutine nesting: 15 levels max; (6)I/O port(15 pins); (7)two 12-bit timer/counters; (8)interval timer; (9)watchdog timer; (10)high current outputs.
Diagrams

![]() |
![]() TMP40 |
![]() Other |
![]() |
![]() Data Sheet |
![]() Negotiable |
|
||||||||||||||
![]() |
![]() TMP400AIDBQR |
![]() Texas Instruments |
![]() Board Mount Temperature Sensors 1C Remote and Local TEMP SENSOR |
![]() Data Sheet |
![]()
|
|
||||||||||||||
![]() |
![]() TMP400AIDBQRG4 |
![]() Texas Instruments |
![]() Board Mount Temperature Sensors 1C Remote and Local Temp SENSOR |
![]() Data Sheet |
![]()
|
|
||||||||||||||
![]() |
![]() TMP400AIDBQT |
![]() Texas Instruments |
![]() Board Mount Temperature Sensors 1C Remote and Local TEMP SENSOR |
![]() Data Sheet |
![]()
|
|
||||||||||||||
![]() |
![]() TMP400AIDBQTG4 |
![]() Texas Instruments |
![]() Board Mount Temperature Sensors 1C Remote and Local Temp SENSOR |
![]() Data Sheet |
![]()
|
|
||||||||||||||
![]() |
![]() TMP401 |
![]() Other |
![]() |
![]() Data Sheet |
![]() Negotiable |
|
||||||||||||||
(China (Mainland))









