Product Summary
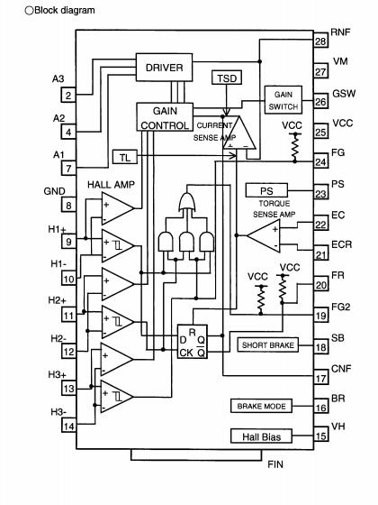
The BA6664FM is a 3-phase spindle motor driver.
Parametrics
BA6664FM absolute maximum ratings: (1)supply voltage: VCC:7V, VM:15V; (2)power dissipation:2200mW; (3)input voltage:0V to VCC; (4)output current:1300mA; (5)operating temperature range:-40℃ to +85℃; (6)storage temperature range:-55℃ to +150℃; (7)junction temperature:150℃.
Features
BA6664FM features: (1)3-phase, full-wave pseudo linear driving system; (2)suitable for 3.3V DSP.
Diagrams

| Image | Part No | Mfg | Description | ![]() |
Pricing (USD) |
Quantity | ||||||
|---|---|---|---|---|---|---|---|---|---|---|---|---|
![]() |
![]() BA6664FM |
![]() |
![]() IC MOTOR DRIVER CD/DVD HSOP-M28 |
![]() Data Sheet |
![]()
|
|
||||||
![]() |
![]() BA6664FM-E2 |
![]() |
![]() IC MOTOR DRIVER 1CH HSOP-M30 |
![]() Data Sheet |
![]()
|
|
||||||
(China (Mainland))










